南部図書館の明かりを考える
- 静岡県静岡市にある南部図書館二階には視聴覚ホールという講演会などをするための施設がある。が、利用料が手頃であり、他によいホールがないということから、アマチュア劇団が公演を打つのに利用することが多い。
ここでは、そんな南部図書館を照明の視点からしゃぶり尽くし、データベース化する事を目的とする。
- 現時点ではあくまでエビスイの経験と能力で分かる範囲内であるが、他の利用者で、これを書き加えろ。という点があれば、お知らせいただければ、検証したりしなかったりしつつ、書き加えたり無視したりする。
戻る
基本
南部図書館のバトン関係

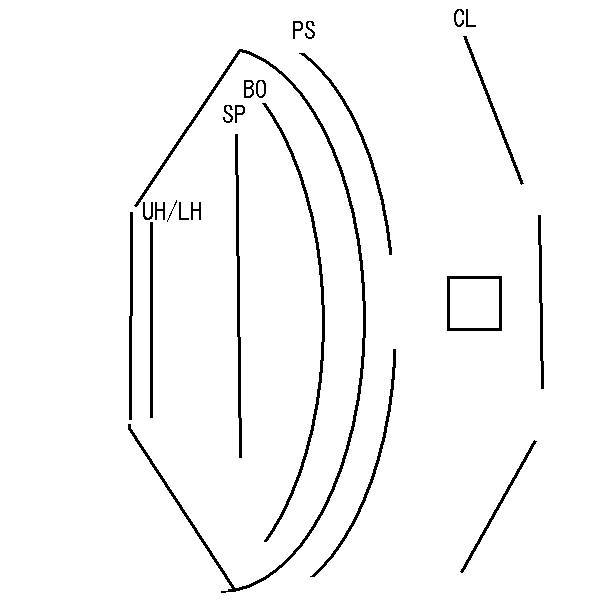
南部図書館の断面図
各灯体の干渉状況が分かるであろうか

舞台は扇形をしており、間口はわりと広いが、奥はけっこう狭い。
ホリは白塗りの壁。袖も壁であるが舞台内側に開くことが出来る。
全てのバトンは、一本に付き3回路ある。
- UH/LH……RGBが入っている。青は明るすぎる青。青空の青でもなく、ブルー舞台の青でもない。有り体にいって、使いにくい青。赤と緑は普通。というか芝居じゃ赤はともかく、緑なんて使わないし。色を抜いて生で使うも良し。一カ所、球が切れていたり、色がなかったりする。
回路が足りなくなったときは、LHを床コンとして使えるが、UHだけでは、全体的に染まらない。
- SP……サスペンションライト。3回路しかない。地明かりを取ると、単サスに使う回路が無くなる。また、舞台前面の端まで光は届かない。バトンの位置から、ほとんどの場合、バックサスとなるだろう。500Wのフレと凸のスポットが半分づつ、計6発使われているが、凸は何が悪いのか、光が分裂していて、単サスとして使えない。PSから、1KWをぶんどってくるのがよい。1KW2発で、だいたい舞台全体が明るくなる。
- BO……ボーダー。RGBの三色。色はUH/LHと同じ。色を抜いて、地明かりの補助として使うのがよろしかろう。特に、ホリへの映り込みを嫌ってシーリングの首を下げ気味にシュートした場合、どうしても舞台奥が暗くなるので、演技が奥の方になったときには、こっそり点けたりする。
- PS……プロセサス。という名前が付いている。1KWのフレと凸が半分づつ。6+6の12発。非常によく分からない位置にある前サス。プロセのさらに前にあるため、この灯体を隠す文字幕等が存在しない。
これを舞台に対して投光した場合、プロセに干渉して飛び切ることが出来ないため、灯体が見切れる。すると、CLの光にばっちり灯体の影が出るのである。ただし、サスの回路が足りないため、トップとして使いたい衝動に駆られる。南部図書館はこのプロセサスの扱いでハマル。
- CL……シーリング。4+3+4の11発。すべて1KWの凸。通常前明かりはぶちがいにせず、まっすぐ前に落とすものだが、舞台が扇状になっている関係上、シーリングの端の方はフロントとして機能しているように思う。また、舞台端の演技者にあたる光は、これのみなので、前顔と横顔をしっかりフォローできていなければ、綺麗な地明かりとはいえない。
また、プロジェクターがまた絶妙の位置にあるため、真ん中のバトンは少し下げなければいけないが、その場合、センターピンの明かりにシーリングの灯体の影が出る。
前明かり

現時点でエビスイの考えるベストの振り。基本的に、2.3.4で前明かりとする。1.5はフロントとして横顔を狙う。
3は、もう少し手前でもいいな。図よりも舞台の張り出しは大きいので、2と4で張り出し部分の顔を、3で中央やや奥付近の顔を狙う。2.3.4.はほぼドン開きで、上と下に広すぎるので、バンドアを持ち込むか、アルミホイルで切って横長の光を作る。1KWなので、それでも明るすぎるぐらいだ。その状態で、さらに50〜80%程度ゲージをかけて使用する。1と5は半分ぐらい絞る。距離が長いので、それでもわりと広がる。これも当然ゲージをかけないと明るすぎる。
卓
3段プリセットのABクロスフェーダー。といえばいいか。
たぶんこれが一般的な使い方だと思うが、例えば、室内と屋外とか、昼と夜とか、2種類の地明かりと、いくつかのスペシャルを仕込んだとしよう。(南部では回路数的に、3つ以上の地明かりを仕込むことはむずかしい。)
まず、2段目に地明かりA。3段目に地明かりBを組む。
ABクロスを、2段目をA、3段目をBにセットする。
スペシャル(単サスとか)はフリーにして1段目を使って操作する。
他にもグループフェーダーとかあるが、だいたい僕は、本番中も様子を見ながら光量とかを調節しているので、一本のフェーダーにまとめるのは好きじゃない。基本的に舞台面のうち、使っていないところの光量は下げ、役者が居るところを明るくすることによって、目立たせて観客の目を集中させるのも、照明の仕事だと思っているので、本番中は常に、ゆっくりと分からないように、光量のバランスを調節している。それが一般的な照明オペなのかどうか知らないが。つまんない役者は前明かりを落とす、というのもわりと冗談ではなく、分からない程度に調節(!)している。
ま、その辺はあからさまにやると、操作ミスか?とか思われるので、分からない程度の微調節なんだけど、はたしてそれでどんな効果を上げているのか。ほとんど自己満足かもしれない。
ばらし
基本的に、小屋付きの人というのは居ないので、自分たちで現状復帰して帰らなければならない。しかし、行くたびに当たりとパッチが変わっているので、まあ、講演会などが出来る状態であれば、そう細かいことは言われないようである。
吊り位置に関しては、どこかの劇団(だと思う)が、灯体とバトンに印を付けていってくれてあるので、その通りに吊り直しておけばよい。パッチは、テキトウに近いところに差しておく。回路がばらけていれば問題はない。
SPとPSは真下のドンバラシ。だってさ、サス関係は芝居じゃないと使わないでしょ。
CLに関しては、テキトウに絞って、基本的にストレートで。講演会を想定して、お花当てとか、作ってみるもよし。(カンバン当ても忘れるな)
普通に10人ぐらい人手がいれば、1時間で完全撤収まで行ける。
戻る