テープホルダー
木の感触を小さな作品で楽しみましょう。

木の色、模様、肌合い、匂いなどなどを木片から感じ取って下さい。

このホルダーは幅 20mm 、直径 55mm 迄のテープを収納できます。
また置く位置を選ばない外形でペーパーウェイトとしても使えます。


目次


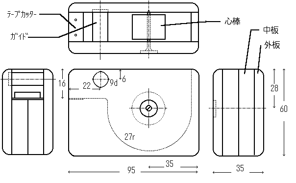
【構造】

2種類、4枚の小片を接着だけで組み合わせた構造です。中板 2枚はテープを収納するよう繰りぬいてあり、心棒にはめられたテープはガイドとカッターで引き出され/カットされます。


【材料】

色の対比と木目を楽しむために、中板には色が濃く木口に斜めに木目が出ている木を選び、外板は木目が奇麗な白色系の木を選んでいます。
テープカッターは、サランラップのカッターを流用しています。

・中板 2枚 100mm x 65mm x 11mm 色が濃く、木口の年輪がはっきりした板(、等)

・外板 2枚 100mm x 65mm x 6mm 白色系の木目が特徴となるような板(、等)

・ガイド 1本 9mm Φ x 35mm

・心棒 1本 25mm Φ x 20mm

・テープカッター 1枚 22mm のを流用

・木ねじ 1本 30mm


●テープホルダー 【作り方】へ ●ヘッドページへ戻る ●Tukuruページへ戻る